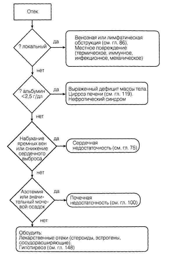
Отеки Определение Припухлость тканей в результате патологического увеличения объема интерсти-циальной жидкости. Отечная жидкость является транссудатом плазмы, накапливающимся при усилении перехода жидкости из сосудистого русла в интерстициаль-ное пространство. Заметный общий отек у взрослого означает накопление в организме 3 или более литров жидкости, скорее всего в результате задержки соли и воды почками. Распределение отеков по тканям может указать на их причину. Местный отек привязан к определенному органу или участку сосудистого русла, легко отличим от генерализованного отека. Изолированный отек конечности обычно связан с венозной или лимфатической недостаточностью (тромбоз глубоких вен, первичный лимфатический отек, нарушение оттока из-за роста опухоли). При параличе нижней конечности отек может развиться в результате стаза. Аллергические реакции (ангионевротический отек) и обструкция верхней полой вены служат причинами локального отека лица. Двусторонний отек нижних конечностей может также иметь местные причины; например, обструкция нижней полой вены, сдавление ее асцитом или опухолью в брюшной полости. Асцит (жидкость в брюшной полости) и гидроторакс (жидкость в плевральной полости) могут выглядеть как локальный отек в результате воспаления или роста опухоли. Общий (генерализованный) отек — припухлость тканей в большинстве или во всех отделах организма. Двусторонний отек нижних конечностей, более выраженный после пребывания в течение нескольких часов в положении стоя, а также отек легких обычно имеют кардиальное происхождение. Периорбитальный отек отмечается при пробуждении больного, часто вызван поражением почек и нарушением экскреции натрия. Асцит, отек нижних конечностей и мошонки нередко отмечаются при циррозе печени и хронической сердечной недостаточности. В последнем случае снижение сердечного выброса и минутного объема кровообращения ведет к уменьшению кровотока через почки и увеличению венозного давления с результирующей задержкой натрия почками из-за почечного сосудистого спазма, перераспределения внутрипочечного кровотока и вторичного гиперальдостеронизма. При циррозе печени артериовенозные шунты уменьшают эффективный почечный кровоток, что ведет к задержке натрия. Асцитическая жидкость накапливается, когда увеличенное сосудистое сопротивление вызывает портальную гипертен-зию. Снижение содержания альбумина в сыворотке крови и повышенное внутри-брюшное давление ведут к отеку нижних конечностей. При нефритическом синдроме выраженная потеря альбумина через почки снижает онкотическое давление плазмы, способствуя транссудации жидкости в интер-стициальное пространство; уменьшенный МОК стимулирует задержку натрия почками. При острой или хронической почечной недостаточности отек возникает, если поступление натрия превышает способность почек к его экскреции из-за выраженного снижения гломерулярной фильтрации. Тяжелая гипоальбуминемия (<25 г/л) любого происхождения (например, нефротический синдром, дефицит питания, хроническое заболевание печени) может снизить онкотическое давление плазмы до такой степени, чтобы вызвать отек. Более редкие причины общего отека: идиопатический отек — синдром повторного увеличения массы тела и отека у женщин в половозрелом возрасте; гипоти-реоз — микседематозный отек типично располагается в нижних отделах голеней; прием стероидов, эстрогенов и сосудорасширяющих средств; беременность; восстановительный период после голодания. Лечение Первичное лечение заключается в установлении и устранении причины отека (рис. 17-1). Ограничение количества поступающего с пищей натрия (<500 мг/сут) может предотвратить дальнейшее прогрессирование отека. Постельный режим увеличивает благоприятную реакцию тканей на ограничение поступления поваренной соли при циррозе печени и хронической сердечной недостаточности. Эластичные чулки и возвышенное положение отечных конечностей помогает мобилизовать интерстици-альную жидкость. При выраженной гипонатриемии (< 132 ммоль/л) больному следует уменьшить прием жидкости до 1500 мл/сут. Диуретики (табл. 17-1) показаны при выраженных периферических отеках, отеке легких, ЗСН, неадекватном ограничении поваренной соли в диете. Побочное действие диуретиков приведено в табл. 17-2. Снижение массы тела при их применении не должно превышать 1-1,5 кг/сут. Метолазон может быть добавлен к петлевым диуретикам для повышения эффекта. Отметим, что отек стенки тонкой кишки может снизить абсорбцию оральных диуретиков и их эффективность. Когда желаемая масса тела достигнута, дозу диуретиков снижают. При ЗСН (см. гл. 75) следует избегать применения значительных доз диуретиков, так как это может вести к снижению МО и преренальной азотемии. Необходимо избегать спровоцированной диуретиками гипокалиемии, что усиливает вероятность интоксикации сердечными гликозидами. При циррозе печени спиронолактон — препарат выбора, но он ведет к ацидозу и гиперкалиемии. Рекомендуются тиазиды или небольшие дозы петлевых диуретиков. Следует учесть, что почечная недостаточность провоцируется уменьшением ОЦК. Чрезмерная стимуляция диуреза вызывает гипонатриемию и алкалоз, что может спровоцировать печеночную энцефалопатию (см. гл. 119). При нефротическом синдроме внутривенное введение альбумина следует применять ограниченно в самых тяжелых случаях (у больных с сопутствующим снижением АД), поскольку быстрая экскреция белка почками препятствует повышеник концентрации альбумина.
Рис. 17-1. Диагностический подход к отеку. Таблица 17-1 Применение
диуретинов при отеке (см. также табл. 17-2)
Таблица 17-2 Нежелательные эффекты
при применении диуретинов
Поделитесь этой записью или добавьте в закладки | ||||||||||||||||||||||||||||||||||||||||||||||
Главная